跳到主要內容區塊

﹤生技醫療﹥龍氏人工網膜

高雄醫學大學/龍震宇教授

 解決痛點 

  • 傳統POP治療多需子宮切除,不符部分女性保留子宮需求
  • Sacrocolpopexy手術時間長、學習曲線陡峭,臨床普及性低
  • 既有術式對未來子宮病變處理與組織沾黏存疑
  • 新式術式需兼顧安全性、效率與長期成效

 技術簡介 

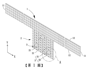
一種人工網膜,用以解決習知人工網膜容易相對於組織滑動的問題。該人工網膜具有數條線材相交的網狀結構,以形成虛擬的一組織接觸面,包含:一長臂部,於一 X 方向上具有二端部,該二端部之間具有相對二側緣;及一固定部,於其中一側緣朝一 Y 方向延伸,該固定部具有數個凸出部,該數個凸出部突出於該組織接觸面。

高醫龍震宇

 應用案例 

  • 龍式懸吊手術提供保留子宮之腹腔鏡新選擇,成功率高
  • 新式經腹人工網膜子宮膀胱懸吊術,手術時間約1小時
  • 強化圓韌帶功能,3年追蹤顯示療效媲美傳統術式
  • 適用於子宮與膀胱脫垂、重視微創與恢復效率之患者

 相關連結 

 專利名稱證號 

US 17/857,197
TW I82335

 技術產學合作或技轉單位 

 獲獎紀錄 

國家新創獎-18th 臨床新創獎

 技術聯絡人 

高雄醫學大學 洪一豪副理

連絡電話:07-3121101 ext. 2360

聯絡信箱:R121084@kmu.edu.tw

瀏覽數: